Resumo: Práticas avaliativas em salas de aula operam, muitas vezes, na lógica do discurso da melhoria, desenvolvimento e progresso, em uma suposta igualdade de alunos, que, no limite, reforça o projeto colonial (patriarcal, hierárquico, eurocêntrico) de uma Educação Matemática. Com isso, nesses escritos, em uma tentativa de criar possibilidades, atuar nas fissuras, produzir com pesquisas e com uma escola que acontece, me invento em um diálogo com diferentes instrumentos avaliativos para/com salas de aula de matemática. Com a afirmação “pose para foto - click!”, em uma atitude decolonial, uma mistura com fotos e um flerte com as margens das avaliações que acontecem nas escolas, sou produzida neste ensaio. Entre provas escritas, provas em fases, prova com cola, análise de produções escritas e portfólio, algumas discussões de características e potencialidades desses instrumentos avaliativos são detalhadas na direção de partilhar ideias, pesquisas e discussões para, quem sabe, convites de produção/invenção de instrumentos avaliativos outros.
Palavras-chave: Educação Matemática,Decolonialidade,Modelo dos Campos Semânticos.
Abstract: Assessment practices in classrooms often operate in the logic of the discourse of improvement, development, progress, in a supposed equality of students, which, at the limit, reinforces the colonial project (patriarchal, hierarchical, Eurocentric) of a Mathematics Education. With that, in these writings, to create possibilities, act in the cracks, produce with assessments investigations and with a school that happens, I invent myself in a dialogue with different assessment instruments for/with math classrooms. With the statement “pose for a photo - click!”, in a decolonial attitude, a mixture with photos and a flirtation with the margins of the assessments that take place in schools, I am produced in this essay. Among written tests, tests in phases, test with glue, analysis of written productions and portfolio, some discussions of the characteristics and potential of these assessment instruments are detailed in the direction of sharing ideas and discussions for, who knows, invitations to produce/invent assessments instruments other.
Keywords: Mathematics Education, Decoloniality, Semantic Fields Model.
Resumen: Las prácticas evaluativas en las aulas operan muchas veces en la lógica del discurso de superación, desarrollo y progreso, en una supuesta igualdad de los estudiantes, lo que, en el límite, refuerza el proyecto colonial (patriarcal, jerárquico, eurocéntrico) de una Educación Matemática. Con eso, en estos escritos, en un intento de crear posibilidades, actuar en las grietas, producir con la investigación y con una escuela que sucede, me invento en un diálogo con diferentes instrumentos evaluativos para/con las aulas de matemáticas. Con el enunciado “posa para una foto - ¡clic!”, en una actitud decolonial, una mezcla de fotos y un coqueteo con los márgenes de las evaluaciones que se realizan en las escuelas, soy producida en este ensayo. Entre pruebas escritas, pruebas en fases, prueba con pegamento, análisis de producciones escritas, portafolio, se detallan algunas discusiones sobre las características y potencialidades de estos instrumentos de evaluación en la dirección de compartir ideas, investigaciones y discusiones para quién sabe, invitaciones a producir/inventar instrumentos otros evaluativos.
Palabras clave: Educación Matemática, Descolonialidad, Modelo de Campos Semánticos.
PRÁTICAS AVALIATIVAS E A SALA DE AULA DE MATEMÁTICA
Pose para foto - click! (ou: possibilidades de instrumentos avaliativos para a sala de aula de matemática)
Photo pose - click! (or: possibilities of assessment instruments for a math classroom)
Postura de la foto - ¡haz clic! (posibilidades de instrumentos de evaluación para el aula de matemáticas)
Recepção: 28 Outubro 2021
Aprovação: 01 Fevereiro 2022
Publicado: 10 Junho 2022


Pose para foto - click!
Aqui, trago uma fotografia, uma captura, uma produção/invenção de algo que acontece na escola. Mas espera um pouco: É isso que de fato acontece na sala de aula de matemática? O quanto de conhecimento cabe nessa foto? O quanto de aprendizagem? O quanto de significados cabe nessa foto? O quanto de matemática(s)? Escolas? Sujeitos? (ou seriam objetos?). Essa foto é rotineira em salas de aula de matemática: uma prova escrita realizada ao longo de um bimestre que ‘comprova’ aquilo que um aluno aprendeu. De maneira única, em um olhar fixo.
Com essas inquietações, permito-me pensar em um sistema escolar que opera com o discurso de melhoria, desenvolvimento, progresso, igualdade, universalidade. Mas, questiono: quem sabe o que? O que se deve saber? De que forma o conhecimento pode ser medido? Prova!
Pois bem, prova! Não é apenas na atualidade que as práticas avaliativas têm sido consideradas, em parte, como práticas de exame e excludentes. Afinal, é preciso um critério para sustentar o discurso (ou seria do sistema?) meritocrático. Ofereço oportunidades de acesso à escolarização para todos, trabalho com um currículo padronizado repleto de conteúdos, e avalio todos os alunos com o mesmo instrumento. Há quem diga: justiça. Eu digo: projeto colonial (patriarcal, hierárquico, eurocêntrico) de uma Educação Matemática.
Com Grada Kilomba (2019, p. 28), digo que somos objeto quando “nossa realidade é definida por outros, nossas identidades são criadas por outros”. Pensando bem, na escola sou (somos) objeto(s). Silêncio. Fila. Carteiras. Quadro. Professor (que fala). Aluno (que escuta). Mas, não é esse projeto de escola/professor/aluno que precisamos para que seja possível a construção de uma outra sociedade? Se é o que precisamos, não sei. Eu sei de um desejo do sistema escolar: “professores ensinam; alunos aprendem conteúdos; alguns alunos vão ter sucesso; outros (grande parte) vão ter fracassos; mas, chegaremos lá, pois estamos melhorando!”
E o meu desejo?
O meu desejo não é o de melhorar as práticas avaliativas da sala de aula de matemática, mas sim de oferecer repertórios para professores de matemática, não na direção de dizer o que eles devem fazer, mas sim em um diálogo, em uma partilha de discussões. Não se trata de: faça isso! Talvez: eu fiz assim, quem sabe possa ser interessante para você, para suas salas de aulas de matemática e seus alunos. Falo de um diálogo como um convite, não para
desarmar, desfazer ou reverter o colonial; passar de um momento colonial a um não-colonial, como se fosse possível que os rastros dos empregadores deixassem de existir. A intenção, ao invés, é acentuar e provocar um posicionamento – uma postura e atitude contínua – de transgredir, intervir, insurgir e incidir. (WALSH, 2009, p.14-15).
Pretendo, aqui, à margem de tudo que existe, “[...] criar outra maneira de entender, outra maneira de articular conhecimentos, práticas, [e] sujeitos” (SANTOS, 2007, p.39). Também tenho intenção de produzir/inventar (também a mim mesma) com práticas avaliativas, acerca da avaliação da aprendizagem em matemática como prática de investigação. Pensar/produzir avaliações para além da prova escrita, não como um retrato estático. Pensar/produzir avaliações como um processo dinâmico e sistemático a partir de lentes plausíveis, em poseS para fotoS - clikS!

A sala de aula simplesmente acontece e nesse acontecer uma avaliação também é implementada. Logo, fissuras e atravessamentos também acontecem e, com isso, acontece (pode acontecer) uma avaliação como prática de investigação. É com a sala de aula que podemos produzir: não com uma idealizada, mas com uma que se mostra.
Pois bem, o objetivo deste texto/ensaio é produzir uma discussão de diferentes instrumentos avaliativos na perspectiva de uma avaliação como prática de investigação. Em meio a fotos, imagens invento (sou inventada) um diálogo decolonial em produções de práticas avaliativas em contextos escolares.
Grande parte destes instrumentos foram investigados e problematizados em pesquisas do Grupo de Estudos e Pesquisa em Educação Matemática e Avaliação (GEPEMA)[4]. Esses estudos e pesquisas servem como um ponto de partida para minhas discussões. Não se trata de operar na binaridade, concordar ou discordar, das discussões e nem mesmo do modo como os trabalhos deste grupo denominam estratégias ou instrumentos de avaliação. Por meio de uma leitura plausível (Lins, 1999, 2012) desses trabalhos que investigaram (ou discutiram) potencialidades destes instrumentos, produzo (sou produzida). Por leitura plausível, produzo um processo de leitura destes trabalhos pelas discussões que eles oferecem, pelo modo como os autores e autoras operaram em seus textos. Não busco falta, nem mesmo incoerências. Tento ler plausivelmente. Segundo Lins (1999) /.../ “toda tentativa de se entender um autor deve passar pelo esforço de olhar o mundo com os olhos do autor, de usar os termos que ele usa de uma forma que torne o todo de seu texto plausível (1999, p. 83)”.
Minha empreitada é produzir repertórios para práticas avaliativas de professores que ensinam matemática em atitudes decoloniais, em misturas com fotos e com uma escrita que flerta com a margem. A partilha é uma direção da construção deste texto/ensaio em um movimento de aglutinar instrumentos e tentar oferecer um leque de possibilidades para/com professores de matemática.
Minhas discussões são com os instrumentos: provas escritas, provas em fases, prova com cola, análise de produções escritas, portfólio. Talvez, este texto sirva de inspiração para que professores se coloquem em suspensão e, quem sabe, tentem operar outros instrumentos avaliativos em suas salas de aula. Entre sutilezas em apresentar prescrições e dizer aquilo que o professor deve fazer, e produzir um diálogo que apresente, exponha e ofereça convites, este texto/ensaio ganha ‘corpo’ em cada parágrafo, em cada pose para uma foto - click! Partilha e convite são duas apostas!
Mas começar essa discussão com a tão famosa prova escrita? Sim. Ela não é a carrasca dos processos avaliativos, nem mesmo deve ser abolida. O problema central é sua exclusividade, sua predominância nas avaliações que professores de matemática praticam em sala de aula.
A prova escrita é o instrumento mais comumente utilizado na escola, com tempo restrito, sem consulta individual, que carrega um discurso de justiça e igualdade, já que o professor utiliza o mesmo instrumento, com as mesmas questões (objetivas ou discursivas) para avaliar todos seus alunos, tendo como retorno resultados de aprovação/reprovação. Ou seja, uma ação do que o aluno sabe com resultados expostos, medindo ou classificando sua aprendizagem.
Segundo Vasconcellos,
os professores usam a prova porque é mais cômodo (permite um tempo para “respirar”, corrige tudo de uma vez, etc.); o docente tem uma visão de que “sempre foi assim”; não percebe a necessidade de mudar; não sabe como fazer diferente; sentir-se segura assim, já que há uma legitimação social para este tipo de prática (especialmente em termos de preparação para os exames); existe a possibilidade de usá-lo como ameaça para o aluno (forma de controle do comportamento); e localiza o problema no aluno, não se questiona o processo. (VASCONCELLOS, 2003, p. 125).
Entende-se a Prova Escrita como um instrumento de avaliação em que, em uma folha de papel, são apresentadas as tarefas, que devem ser respondidas pelos alunos, de maneira discursiva (VAN DEN HEUVEL-PANHUIZEN, 1996). A utilização de uma prova escrita envolve reflexão a respeito dos seguintes aspectos: a definição dos objetivos, a escolha das questões, a elaboração de critérios de correção, a atribuição de notas, o planejamento de ações de feedback e a recuperação. (TREVISAN; MENDES, 2015, p. 49). Ainda sobre a prova escrita, ela é um dos instrumentos de avaliação com o qual se pode investigar a aprendizagem dos alunos, o ensino do professor, o que acontece na sala de aula (CELESTE, 2008, p. 18).
Diante dessas considerações, acredito que um convite para utilização de provas escritas como um dos instrumentos de uma prática avaliativa de professores que ensinam matemática se dá na direção de uma partilha com os alunos das possibilidades de uma prova escrita. Se ela for realizada individualmente, quem sabe os alunos não podem participar de um coletivo de correções junto com colegas e professores. Se ela for em grupos, quem sabe não seja possível produzir problemas e atividades ao invés apenas de responder aos problemas e atividades propostos pelos professores.
Talvez, uma importante consideração é que uma prova escrita, em diferentes maneiras e implementações, precisa se constituir apenas como mais instrumento de uma prática avaliativa de professores que ensinam matemática. E que tal propor aos alunos durante um ano, problematizar o que acontece(u) com provas escritas que realizam(ram)? De que maneira essas provas potencializaram suas aprendizagens? De que maneira elas prejudicaram dinâmicas e possibilidades de sala de aula? Quanto de angústia cabe em uma prova escrita? Que se pode fazer com isso?
Pose para foto - mais um click!


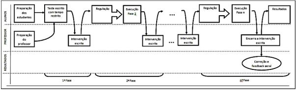
Uma prova em fases pode ser uma adaptação da Prova em Duas Fases idealizada por De Lange (1987). Para De Lange (1999), na primeira fase a experiência avaliativa é de modo tradicional, composta por questões discursivas, onde todos os alunos recebem a mesma prova, com tempo limitado, e respondem às questões possíveis. Feito isso, o professor recolhe a prova, faz correções e intervenções e devolve para os alunos, marcando o início da segunda fase. Nesta, cada aluno, em casa, resolve uma prova diferente e tem oportunidade de fazer e/ou refazer as questões e devolve ao professor no prazo estabelecido, o qual fará a correção e informará os alunos dos resultados e atribuirá uma nota. Vale informar que para De Lange a segunda fase não é considerada como uma nova chance, mas como oportunidade de lidar com os construtos da primeira fase.
Essa prova é
uma prova escrita, resolvida individualmente e em sala de aula, contendo questões associadas aos objetivos de aprendizagem a serem explorados ao longo de determinado espaço de tempo (um bimestre, um semestre, um ano), a qual os estudantes têm acesso desde a primeira fase (portanto, antes mesmo das aulas na qual serão explorados tais objetivos). Os próprios estudantes podem reconhecer/escolher quais questões resolver em cada fase podendo alterar as resoluções, nas etapas subsequentes, sempre que julgarem necessário (TREVISAN; MENDES, 2015, p. 52).
Mas por que apenas duas fases? Seria possível pensar em três? Quatro? Quantas?
Quantas forem necessárias para os objetivos do professor de matemática. A grande sacada deste instrumento, intensamente explorado por Pires e Buriasco (2017), Mendes e Burasico (2018), Prestes e Buriasco (2019), para citar alguns, é que ele oferece uma dinâmica tanto para o trabalho do professor quanto para os movimentos que os alunos podem ter em salas de aula em relação aos processos de aprendizagens. Mendes e Buriasco mencionam que
em uma prova em fases, pode-se organizar uma grade de correção para cada questão considerando as escolhas das estratégias ao longo da prova, os procedimentos para efetivação das estratégias, as respostas dadas aos problemas, assim como os encaminhamentos dados pelos alunos frente às intervenções escritas do professor. Quando necessário, a nota será, então, atribuída no final de todas as fases da prova, de tal forma que essa nota não seja de uma escala objetiva de pontuação, mas de um acompanhamento refletido do trabalho realizado pelo aluno. (MENDES; BURIASCO, 2018, p. 667)
Para Mendes (2014, p. 46) a Prova em Fases “configura-se, em princípio, como um instrumento de avaliação da produção escrita do aluno, de caráter individual, realizada na sala de aula em momentos estabelecidos pelo professor, não havendo consulta de materiais nesses momentos.”, e pode ser esquematizada da seguinte maneira:

Na primeira fase da prova, o professor entrega a prova elaborada aos alunos, e estes têm a oportunidade de resolverem as questões (quais e quantas quiserem) individualmente e no tempo determinado pelo professor, o qual, após isso, recolhe o instrumento, analisa as produções dos alunos e faz intervenções. Nas próximas fases, os alunos retomam a prova para resolverem, refazerem, alterarem questões e terem contato com as intervenções do professor e lidar com elas.
Mendes (2014), escolheu algumas estratégias para a resolução da Prova em Fases. Essa, deveria ser feita estritamente a caneta, em cada fase uma cor de caneta diferente deveria ser usada pelos alunos e as resoluções anteriores não poderiam ser rasuradas. Segundo Pires e Buriasco (2012) “Esse formato de instrumento de avaliação permite que o aluno volte a refletir sobre o que ele já escreveu apoiado nas observações do professor, essa pode ser uma excelente oportunidade para a aprendizagem” (PIRES; BURIASCO, 2012, p. 9).
Quantas fases senão uma vida escolar de alunos? E se as provas em fases se confundissem com dinâmicas de discussões, problematizações, invenções de matemáticas, escolas, vidas? Como tomar a ideia de prova em fases e pensar salas de aula de matemáticas em fases?
Pose para foto - mais um click!

Fita de Möbius
https://www.scienceworld.ca/resource/mobius-bands/Mas pode colar em sala de aula? A cola, ou o lembrete, ou um pedacinho de papel camuflado, apenas para que um aluno possa lembrar de uma fórmula, deveria se constituir com um instrumento de avaliação da aprendizagem em sala de aula de matemática?
Sim! A prova em cola se constitui como mais um instrumento. A partir de sua utilização, o professor além de construir uma possibilidade potente e interessante para sua prática avaliativa, também pode utilizá-lo como um convite para discutir questões éticas com seus alunos: quando um aluno cola, quem ele engana? O professor ou ele mesmo? A cola é um instrumento que explicita um sintoma da escola, como um sistema que muitas vezes opera sem escutar os alunos. De que maneira uma cola produzida por um aluno explicita toda uma problemática de uma escola como um todo? Essas entre outras problematizações podem ser feitas com a prova com cola.
A Prova com cola, para Forster,
é uma prova escrita na qual o aluno tem a sua disposição um pedaço de papel, a cola, em que ele pode anotar as informações que julgar pertinentes para utilizar durante a realização da prova. Para que os alunos façam a cola, é desejável que seja estabelecido um padrão comum a todos. Por exemplo, é preciso definir as dimensões do papel, se o texto da cola deve ser manuscrito ou não, se deve ser feito individualmente ou não. (FORSTER, 2016, p. 27)
A proposta de utilização de “cola” durante a realização de uma prova procura tornar lícita uma prática que, embora se mantenha ilegítima, está presente no contexto escolar. Assim, ao invés de fornecer formulários prontos, ou esperar que os estudantes os memorizem, pode-se propor que eles mesmos elaborem suas anotações (a “cola”) que podem ser consultadas durante a realização da prova escrita. Na verdade, a ideia é que essas anotações incluam não apenas fórmulas, mas também definições, esquemas, exercícios resolvidos; enfim, tudo que possa auxiliá-lo. (TREVISAN; MENDES, 2015, p. 51)
O processo de elaboração da cola pode ser um processo de estudo e, consequentemente, ajudar na aprendizagem dos alunos. Há diferentes maneiras de se trabalhar com este instrumento em sala de aula. Ele pode ser adaptado de acordo com as demandas do professor e dos alunos. A ideia não é que eles tenham apenas uma dinâmica ou um modelo a seguir, mas sim que possa ser transformado em diferentes salas de aula. Exemplos:
Exemplo 1: divida uma folha de sulfite ao meio; em uma metade escreva aquilo que possa te ajudar em sala de aula; utilize este pedaço de papel com suas anotações (e apenas com suas anotações) na implementação de uma prova escrita, ou mesmo em uma prova em fases.
Exemplo 2: cada aluno faz sua cola (uma folha de sulfite) e traz para o dia da prova escrita. Porém, o professor troca essas colas. Com isso, além de tentar utilizar a cola de um colega, cada aluno deve explicitar potencialidades, fragilidades e importâncias daquela cola para a aprendizagem em sala de aula de alguma temática. Logo ao final da prova, cada aluno pode produzir um parecer sobre a cola do colega. Em outro momento, alunos e professor podem fazer uma sistematização das colas e conversar a respeito da importância da sistematização.
Exemplo 3: … (este exemplo, deixamos como convite para nossos leitores)
Pose para foto - mais um click!

A análise da produção escrita se apresenta como uma estratégia político-pedagógica para o professor que ensina matemática: tanto de ensino e aprendizagem, quanto de avaliação (Santos e Buriasco, 2016). Ela possibilita professores e alunos conhecerem características e particularidades da atividade matemática por meio de registros escritos.
Segundo Viola dos Santos, Buriasco e Ferreira,
sob o olhar das maneiras de lidar é possível interrogar-se sobre os processos nos quais os alunos se envolvem ao resolver um problema, independentemente das respostas que apresentam bem como, realizar uma leitura na busca de evidências e pistas que eles dão sobre a relação que estabelecem com o enunciado e quais os contextos que constituem nos processos de resolução e mobilização de conceitos matemáticos. Com isso, ao invés de se limitar à identificação de que um problema, quando “não resolvido” pelo estudante, é diferente do considerado correto, emerge a pergunta: qual foi o problema resolvido por ele? (VIOLA DOS SANTOS, BURIASCO, FERREIRA, 2010, p. 145)
Para Dalto (2007) a análise da produção escrita possibilita inferir algo acerca de seu conhecimento matemático e de como esse conhecimento matemático foi mobilizado para a resolução do problema. Ferreira (2013, p.24) menciona que a Análise da Produção Escrita. pode servir para detectar erros frequentes, recorrentes, dificuldades; simular formas de pensar, tipos de raciocínio; investigar causas de erros, obstáculos didáticos, obstáculos epistemológicos; investigar acertos casuais; produzir e emitir feedback; dar suporte para a reelaboração do próprio instrumento de avaliação utilizado.
Para Buriasco, Cyrino e Soares,
os registros que os alunos fazem ao resolver as questões dão valiosas informações sobre o modo como compreenderam e registraram suas idéias a respeito da situação apresentada. Tais informações fornecem rico material para o professor incorporar ao seu repertório, no planejamento das aulas e para orientar suas escolhas didáticas, servindo como referência para conversar sobre matemática com o aluno (BURIASCO; CYRINO; SOARES, 2004, p. 2).
E se os alunos produzissem suas análises de produções escritas de seus colegas? E se eles discutissem as maneiras de lidar de seus colegas, independente delas estarem “certas” ou “erradas”? Talvez, a análise de produções escritas pode se constituir como um instrumento avaliativo para professores em sala de aula de matemática. Uma potencialidade deste tipo de instrumento é colocar o aluno em um lugar no qual ele possa explicitar o que o colega fez, por meio de uma análise (simples ou sofisticada) dos registros escritos. Os alunos não só respondem e resolvem problemas ou atividades, mas analisam processos de resolução de atividades matemáticas. Esta é uma interessante potencialidade deste instrumento.
Uma prática de Análise da Produção Escrita em sala de aula de matemática pode ser, por exemplo, observada nas figuras a seguir:


Na Figura 8, o aluno considera as incógnitas x e y, respectivamente, altura e largura, apresenta a substituição das incógnitas e mostra uma solução para a equação do 2º grau revelando uma possível compreensão do problema.

Na Figura 9, olhando para o registro escrito, infere-se que o aluno extraiu a informação da medida da área do quadro subtraindo-a da medida do dobro da largura. Feito isso, dividiu o resultado pelos quatro lados do quadro, identificando sua altura, mas não respondeu o problema de acordo com os critérios e resolução esperada pelo professor. Este é apenas um exemplo de inúmeros que podem configurar práticas avaliativas de professores que ensinam matemática.
Mas quais considerações os alunos fariam das produções escritas de seus colegas, de seus professores e mesmo de seus livros didáticos? “Essa questão está certa, aquela está errada”. “Mas mesmo meu amigo errando uma continha do problema, ele entendeu o que o problema pedia”. “Mas o é importante mesmo aprender a ler os problemas e analisando o que nós fazemos quando respondemos as atividades que a Prô entrega para gente, acho que a gente consegue”.
Essas, entre outras falas de alunos, são possibilidades deste movimento (mais um instrumento avaliativo também) em salas de aulas de matemática.
Pose para foto - mais um click!
O portfólio é uma coletânea de atividades, produções que são preparadas pelos alunos e avaliadas pelo professor, para demonstrar domínio, compreensão, aplicação e síntese de um dado conjunto de conceitos. Trata-se de um “lugar” para guardar produções de alunos, que podem ser depositadas, ou coletadas, ao final de uma semana de aula, ou mesmo ao final de toda aula. Pode ser um saquinho com o nome do aluno, guardado em um armário no fundo da sala? Sim. Pode ser uma pasta no google drive compartilhada com o professor, na qual o aluno posta a cada final de semana produções que julga interessantes para partilhar com o professor? Sim. Pode também partilhar com seus colegas? Também sim. Tudo depende das intenções político-pedagógicas de professores e alunos em uma sala de aula.
Tanto faz a dinâmica e o modo como professores e alunos se organizam para produzir um portfólio, físico ou online. A principal argumentação é que um portfólio pode servir como possibilidade para que alunos e professores construam uma dinâmica interessante para uma regulação de aprendizagens. Para Gomes, por exemplo,
o portfólio de avaliação documenta a aprendizagem do aluno, por meio de seus comentários sobre o que foi trabalhado de acordo com os objetivos curriculares. É, portanto, necessário para a elaboração deste tipo de portfólio efetuar: a indicação desses objetivos curriculares, a explicitação sobre o uso das informações contidas no portfólio, o estabelecimento das tarefas avaliativas de acordo com os objetivos do currículo tendo em vista as competências, habilidades e a atitudes a serem adquiridas, definição de critérios de avaliação para cada atividade desenvolvida. (GOMES, 2003, p. 25).
Ela ainda complementa que “os portfólios são instrumentos que estimulam e ativam o pensamento reflexivo, oportunizam ao aluno documentar e estruturar procedimentos e até sua aprendizagem, possibilitando ao professor agir em tempo hábil na ajuda ao aluno das suas construções cognitivas.” (GOMES, 2003, p.72).
Uma discussão a ser realizada com a utilização deste instrumento pode ser em relação ao que deve ser incorporado ao portfólio. Sistematizações de temáticas? Resoluções de problemas e atividades? Erros cometidos pelos alunos em atividades? Essas, bem como outras possibilidades, são produções potentes e interessantes para professores e alunos em sala de aula de matemática. O portfólio se constitui como um instrumento que faz uma marcação nos movimentos e dinâmicas de sala de aula e coloca os alunos em processo de pensar, refletir e tomar decisões sobre suas produções e aprendizagens.
“Professora, e se a gente tivesse um portifólio de matemática de cada ano escolar? Professor, a agora tem que ser tudo online, essa estória de saquinhos com folhas de sulfites não dá mais! E se trocássemos nossos portifólios algumas vezes?”
Essas, entre outras possibilidades, poderiam fazer parte de uma sala de aula de matemática na utilização deste instrumento avaliativo.

Pose para foto - mais um click!
Essa partilha com intenção de um convite pode não ter fim com discussões de potencialidades e características de diferentes instrumentos avaliativos. Entre provas escritas, provas em fases, prova com cola, análise de produções escritas e portifólios, outros instrumentos podem ser inventados. Quem sabe uma prática de formação continuada de professores de matemática não pode ser movimentada a partir da ideia de partilha para o convite.
Entre provas escritas, provas em fases, prova com cola, análise de produções escritas, portfólio, produzi algumas discussões de características e potencialidades de instrumentos avaliativos para/com professores que ensinam matemática na Educação Básica. Discussões a respeito destes instrumentos já foram realizadas nos trabalhos que citei e, para os quais, realizei uma leitura plausível. Minha intenção neste texto/ensaio, para além destas discussões, é aglutinar esses instrumentos e tentar explorar um primeiro argumento de que vários instrumentos podem (ou mesmo devem) estar presentes na prática político-pedagógica de professores que ensinam matemática. A multiplicidade de instrumentos oferece possibilidade de a própria prática profissional do professor ser colocada em suspensão e, quem sabe, inventada em narrativas e lógicas outras. Não se trata de produzir uma dinâmica completamente diferente de um ano para o outro, mas estar atento ao fato de que é necessário o professor se movimentar e ousar em sala de aula.
Uma avaliação como prática de investigação pressupõe a utilização de vários instrumentos avaliativos. Estes podem oferecer olhares, dinâmicas, características e elementos de processos avaliativos que acontecem nas escolas. Diferentes instrumentos oferecem diferentes possibilidades. Os instrumentos nunca são estáticos e sempre estão em constante transformações. Adaptações, transformações, transgressões de instrumentos é uma prática desejável para professores que ensinam matemática. Neste texto, minha intenção foi: da partilha para o convite. Dá construção de possibilidades para possíveis implementações outras em salas de aula de matemática. Uma aula simplesmente acontece. Estar atento aos detalhes, escutar seriamente o que os alunos falam e mostram com suas atitudes, precisa ser uma atitude profissional de professores. Uma possibilidade para isso é a multiplicidade de instrumentos avaliativos, para que a avaliação em sala de aula, tão relacionada com a classificação, exclusão e marginalização de alunos, possa de configurar em outras possibilidades.
Pose para foto - mais um click! foi uma repetição que utilizei neste texto para demarcar a necessidade de continuar a produção de diferentes e múltiplos instrumentos avaliativos para implementações de práticas avaliativas de professores que ensinam matemática como prática de investigações. A partilha de instrumento, o diálogo entre professores e a invenção/modificação de instrumentos se colocam como movimentos potentes e interessantes para toda a comunidade de educadores matemáticos.
As narrativas da melhoria, desenvolvimento e progresso atravessam as salas de aulas de matemática e são operadas quando (e não apenas) os instrumentos de avaliação e o próprio processo de avaliação não é colocado em discussão. Um movimento do professor de matemática em multiplicar/inventar instrumentos avaliativos outros pode ser uma possibilidade para abalar essa estrutura de uma escola colonial. Pode na direção da possibilidade e não da certeza.
Afetar práticas avaliativas em contextos escolares causa efeitos em todo o sistema escolar. Talvez, uma produção e aglutinação de possibilidades de instrumentos avaliativos, como fiz neste texto, pode ser constituir como uma possibilidade de produzir essas afetações:
Pose para foto - mais um click!

[e logo após os créditos:]
Ah, e tem também o vaivém que se se constitui como um instrumento avaliativo. Segundo Silva, “o professor faz uma pergunta para toda a classe e cada estudante responde em uma folha de papel. A partir da resposta individual de cada estudante, o professor faz outras perguntas, comentários ao estudante”. (SILVA, 2018, p. 57). Assim, …
Pose para foto - mais um click!
https://www.revistasbemsp.com.br/index.php/REMat-SP/article/view/53 (pdf)






Fita de Möbius
https://www.scienceworld.ca/resource/mobius-bands/






